2020-11-09 18:07:36 来源:界面新闻
原标题:陈鲁豫任董事的北京能量影视多次成被执行人,执行标的超446万
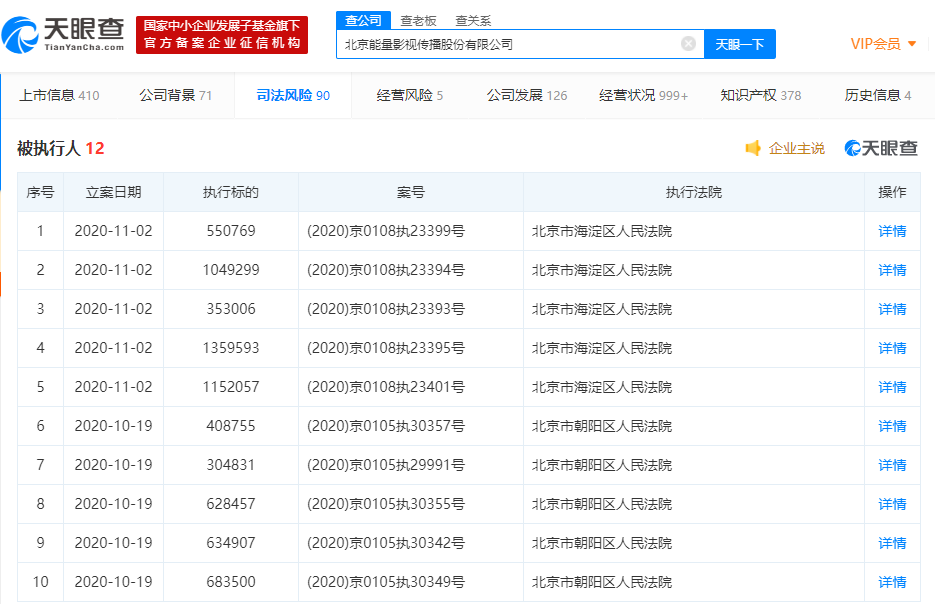
据天眼查APP显示,近日,北京能量影视传播股份有限公司被北京市海淀区人民法院多次列为被执行人,立案日期均为11月2日,执行标的共超446万。此前,该公司也多次被列为被执行人。

北京能量影视传播股份有限公司成立于2004年10月,注册资本约1.69亿人民币,法定代表人为郭志成,经营范围包括制作,发行动画片、专题片、电视综艺,文艺表演,代理、发布广告等。
天眼查APP十大股东信息显示,陈鲁豫任该公司董事,持股比例为3.86%。

公开资料显示,能量传播公司创意制作的栏目主要有访谈类栏目《鲁豫有约》和《首席夜话》,脱口秀栏目《壹周立波秀》,大型季播真人秀栏目《超级演说家》《我为喜剧狂》《我是演说家》《鲁豫的礼物》,大型生活服务类栏目《全是你的》,传播当代中国文化和经济资讯的《今日中国》,网络栏目《诡故事》、《白话好莱坞》等。
海量资讯、精准解读,尽在新浪财经APP 免责声明:本网站所有信息仅供参考,不做交易和服务的根据,如自行使用本网资料发生偏差,本站概不负责,亦不负任何法律责任。如有侵权行为,请第一时间联系我们修改或删除,多谢。
© 2018 今日中国财经 版权所有