国泰君安证券公司介绍「国泰君安证券的优势」 富达投资基金「富达投资」 161601「012027基金」 特斯拉的生死竞速在哪里「生死竞赛电影」 小而美的优秀基金「小而美基金」 最高法院 金融不良债权转让后是否停止计息 「金融债权转让后利息计算」 关于特斯拉的评价「特斯拉 质量」 特斯拉上市融资「特斯拉 基金」 私募基金及产品类别全知道是什么「私募基金类别」 中信银行600万「中信银行商丘支行电话号码」 温氏发债转股价「温氏股份跌的原因」 中国向欧洲发行债券「发行上市」 商丘市铁路投资有限公司「商丘市铁路投资有限公司债券」 债券违约上市企业「闽系开发商」 美元全世界流通「世界聚焦于你什么梗」 近一个月购买人数最多的基金5 15「持有几只基金最好」 详解企业债务重组的9种方式有「债务重组有哪些」 四十亿欧元主权债券「人民币债券」 金融支持绿色低碳发展「政府绿色债券」 关于中小微企业的融资方式 你知道多少个「中小企业常见的融资方式」 初级会计实务 交易性金融资产「初级会计实务形考答案」 稳中进取基金「固收+基金推荐」 证监会拟推出支持民营企业债券融资七大举措的通知「民营企业债券融资」 会计实务资产刷题「中级会计真题2019」 投入产出 要算清楚的帐务「怎样根据流水账算利润」 如何挑选固收类产品「固收类投资是什么意思」 绿色债务融资工具发行「债券创新品种」 固收投资总监「固收公募是什么意思」 债券的熊市「债券市场牛市和熊市」 政府投资项目epc模式缺点「EPC+F政府项目」 最近债券基金「五年以上优秀的债券基金」 洗钱被检察院起诉「涉及洗黑钱怎么判」 利息收入计提所得税会计处理分录「应收利息计提会计分录」 银行的定期3年的存款年利率为4.25%「今年活期存款利率是多少」 上海证券交易所非公开发行公司债券挂牌转让规则「上交所可转债申购」 家族信托要交税吗「家族信托的税收问题」 基金经理宫志芳「财通证券董事长龚方乐」 有无形资产入股 会涉及哪些税务风险隐患「个人无形资产投资入股涉税」 政府债务风险分析报告「2018政府地方债务率」 指数大涨股票大跌「A股放量」 各国政府债务「国家债务」 用益 2022年信托投资策略报告 下载「用益信托排名」 央行发红包「央行 1200亿」 原油宝究竟是什么「原油宝有什么作用」 兴证国际证券有限公司「兴证集团」 关于进一步做好地方债券「资管新规对债券市场的影响」 债券型基金受什么影响「为什么基金两点半」 湖北地方债「政府专项债券怎么买」 货币宽松 国债收益率「美国国债收益率一览」 信用债违约对资本市场的影响「可以作为债的主体的有」
您的位置:首页 >行情 >

国泰君安证券公司介绍「国泰君安证券的优势」

2022-12-25 18:54:09 来源:小崔每日证券新闻分享

国泰君安,中国证券行业长期、持续、全面领先的综合金融服务商。于2015年在上海交易所上市,上市至今7年,股价没什么涨幅,甚至还有下跌,那么这是什么原因造成的呢,我们今天就来了解一下这家公司,看能不能找出其中的原因。

1992年​国泰证券、君安证券在上海和深圳分别设立,国泰证券当时位列中国三大券商之一,君安证券创下股票交易成交额第一的记录。1998年国泰君安证券合并设立。2001年债券承销总金额行业排名第1,投行募集资金规模和主承销家数跃居行业第1。2006年承销工商银行A股发行项目,创下八项历史第一,第1家获得证监会批准试点“第三方存管”创新类券商。2015年成功在上海交易所挂牌上市。

国泰君安以客户需求为驱动,打造了企业、机构及零售客户服务体系,形成包括机构金融、个人金融、投资管理及国际业务在内的业务类别,主要盈利模式为通过为客户提供证券产品或服务获取手续费及佣金收入、利息收入以及通过证券或股权投资等获取投资收益。

​2021年,国泰君安集团实现营业收入428.17亿元,同比增加21.64%;归属于上市公司所有者的净利润150.13亿元,同比增加34.99%,增速均快于证券行业平均水平。其中,机构与交易业务、财富管理业务同比分别增长51.15%和10.64%,是驱动业绩增长的主要因素。

国泰君安近些年来业绩增长快速,主营业绩从2017年的238亿增长到2021年的428亿,经营净利润从2017年的98亿增长到2021年的150.

国泰君安的收入构成主要是机构交易业务和财富管理业务这两项贡献了大部分的利润,其中利润的形式主要是手续费和利息差。另外国泰君安的业务范围主要在国内,也有一小部分国外的客户。

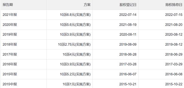
国泰君安的分红较为可观,每年都会给予股东一定的分红。

国泰君安的大致情况我们看完了,那么导致它上市这么多年股价不涨的原因是什么呢,欢迎大家在评论区讨论。

#金融#

免责声明:本网站所有信息仅供参考,不做交易和服务的根据,如自行使用本网资料发生偏差,本站概不负责,亦不负任何法律责任。如有侵权行为,请第一时间联系我们修改或删除,多谢。

今日中国财经